导电鞋是什么?
导电鞋是用导电胶做底,底面衬以屏蔽布料,再引出一根金属线与屏蔽裤的加筋线相连,使屏蔽服对人体形成一个完整的屏蔽面,并实现了有效的接地。
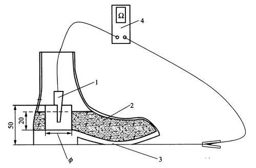
导电鞋的电阻值不应大于500Ω。如发现导电鞋电阻过大时,可按下图自行检测。

导电鞋电阻的测量示意图
1:测试电极接线柱(黄铜)、2:钢球(直径4mm)、3:测试电极(黄铜平板电极)、4:电阻表(阻值量程1~1000Ω)
导电眼镜是在镜片上喷涂一层透明的导电膜。需注意的是眼镜的镜架、镜片必须全部喷镀,使其连成一体,以免出现电位差,造成对脸部或耳部的电击。
静电防护服:静电防护服比屏蔽服防护等级要低,它所用的金属纤维较屏蔽服少,经纬密度稀,屏蔽效率也较低。它主要用于登塔、巡视(变电和线路)人员。
根据保护人身安全要求,推荐采用下列指标的静电防护服:
- 布料:屏蔽效率28dB。
- 电阻:300Ω。
- 成衣:整套衣服电阻1000Ω。
- 衣服内电场强度≤15KV/m。
- 衣服内流过人体的电流≤5μA。
导电鞋的小知识
电性能防护鞋的分类防静电鞋和导电鞋可按材质分为皮鞋和布面胶底鞋,皮鞋按制作工艺可分为胶粘类、注射类和模压类。电绝缘鞋可按材质分为皮鞋、布面胶鞋、胶面胶鞋和塑料鞋。皮鞋按制作工艺可分为胶粘类、模压类、注射类和线缝类。
导电鞋的作用
防静电鞋是既能消除人体静电积聚,又能防止250V以下电源电击的防护鞋。导电鞋是具有良好的导电性能,可在短时间内消除人体静电积聚,只能用于没有电击危险场所的防护鞋。电绝缘鞋是能使人的脚与带电物体绝缘,预防触电伤害的防护鞋。
导电鞋的技术要求
电性能防护鞋的技术要求防静电鞋和导电鞋按GB4385-1995《防静电鞋、导电鞋技术要求》规定,电阻值范围分别为100k~1000M和不大于100k。其中,皮鞋应符合GB1002-1005规定;布面胶底鞋应符合HG/T2495规定。防静电鞋和导电鞋的主要技术性能除电气性能外,还有外底磨耗量、围条与鞋帮粘附强度、外底耐折、外底耐磨、成鞋剥离强度等标准。
电绝缘鞋应符合GB12011-2000《电绝缘鞋通用技术条件》规定。电绝缘皮鞋和电绝缘布面鞋的电性能为:当泄露电流为0.3mA/kV时,应满足表1的要求。电绝缘胶靴和电绝缘聚合材料靴的电性能为:当泄露电流为0.4mA/kV时,应满足表2的要求。电绝缘鞋的主要技术性能除电气性能外,还有鞋帮与围条粘附强度、鞋帮拉伸特性、鞋帮与织物粘附强度、外底耐折、外底耐磨、成鞋剥离强度、渗水性等。[1]
技术分享:
导电鞋和导电眼镜
导电鞋是用导电胶做底,底面衬以屏蔽布料,再引出一根金属线与屏蔽裤的加筋线相连,使屏蔽服对人体形成一个完整的屏蔽面,并实现了有效的接地。导电鞋的电阻值不应大于500Ω。如发现导电鞋电阻过大时,可按图自行检测。
1:测试电极接线柱(黄铜)、2:钢球(直径4mm)、3:测试电极(黄铜平板电极)、4:电阻表(阻值量程1~1000Ω)
导电眼镜是在镜片上喷涂一层透明的导电膜。需注意的是眼镜的镜架、镜片必须全部喷镀,使其连成一体,以免出现电位差,造成对脸部或耳部的电击。
静电防护服:静电防护服比屏蔽服防护等级要低,它所用的金属纤维较屏蔽服少,经纬密度稀,屏蔽效率也较低。它主要用于登塔、巡视(变电和线路)人员。根据保护人身安全要求,推荐采用下列指标的静电防护服:
布料:屏蔽效率28dB。电阻:300Ω。成衣:整套衣服电阻1000Ω。衣服内电场强度≤15KV/m。衣服内流过人体的电流≤5μA。